
ブログ
2023.08.21
前回紹介したドアクローザーの機能から、「速度調整」の方法をご紹介いたします。
前回のブログ⇒https://www.okubo-glass.co.jp/news/detail/news_20230719_001/
玄関や室内ドアの閉まる速度は、ドアクローザーの
スピード調整弁を回すだけで簡単に調整することができます。
必要な工具は以下を準備してください。
・プラス(マイナス)ドライバー
・脚立 ※手が届かない場合
〇まずはドアクローザーをチェックして、オイル漏れがないかを確認します。
オイルが漏れている場合はドアクローザーの交換となります。
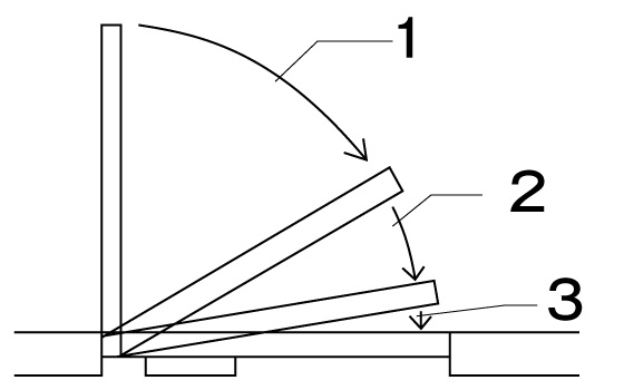
〇速度の調整は、ドアクローザーの側面にある「調整弁」で行います。
一般的なドアクローザーの調整弁の数は1~3個です。
調整弁のすぐ横には「1」「2」「3(またはL)」と表示されており、
速度を調整する区間を示しています。
「2」や「3」が無い場合は、調整弁「1」が全体的な閉まるスピードを
一括で調整する役割を果たします。
誤って関係のないネジなどを回して外してしまうことが無いように注意しましょう。
調整弁は「1」⇒「2」⇒「3(L)」の順番で調整していきます。
閉まる速度は、時計回りで遅くなり、反時計回りで早くなります。
調整弁は3~5度くらいの角度で少しずつ回し、
回すごとにドアのスピードを確認しながら作業しましょう。

調整を行う際は以下のことを知っておいてください。
〇第2速度区間は、第1速度区間より少しスピードを遅く設定してください。
〇ドアが閉まりきるまでの目安時間は5秒~8秒です。
〇一気に調整弁を回したり、ネジの頭が出るほど緩めすぎないよう注意してください。
〇緩めすぎるとオイルが漏れる原因になります。
ドアクローザーの不具合や交換をご希望の方は大久保硝子店へお任せください。